Ống Chờ Xuyên Tường (Sleeve): Giải Pháp Tối Ưu Cho Các Công Trình Xây Dựng Hiện Đại
Trong lĩnh vực xây dựng, mỗi chi tiết kỹ thuật đều đóng vai trò quan trọng để đảm bảo sự hoàn thiện và toàn bộ quá trình. 

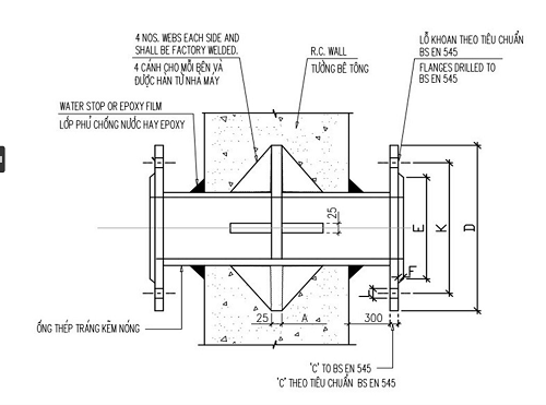
1. Tổng Quan Về Ống Chờ Xuyên Tường (sleeve)
Ống chờ xuyên tường (sleeve) là một loại thiết bị kỹ thuật được lắp đặt sẵn trong các bức tường hoặc nền của công trình, hướng tới mục tiêu tạo ra khoảng không gian cố định để lắp đặt đường ống hoặc cáp. Loại ống này có thiết kế đặc biệt giúp đảm bảo an toàn cho kết cấu tường, đồng thời ngăn chặn hiện tượng nước, bảo vệ quá trình trước các yếu tố môi trường khắc ngh
2. Lợi Ích Khi Sử Dụng Ống Chờ Xuyên Tường (sleeve)
-
Chống Tiên Hiệu Quả : Ống chờ xuyên tường (sleeve) được thiết kế kín với các vòng đệm, đảm bảo không để đảm bảo an toàn cho các thiết bị gắn, giữ cho bức tường và móng luôn sẵn sàng được định hướng lắp đặt sẵn..
-
Tiết Kiệm Thời Gian Và Chi Phí : Với đầu chờ sẵn, có thể linh hoạt kết nối, tránh phải đục , khoan sau khi công trình đã hoàn thiện.
-
Tăng Tính Thẩm Mỹ:
-
Bảo vệ Kết cấu công trình sau khi đã hoàn thiện.
3. Đặc Điểm Kỹ Thuật Nổi Bật Của Ống Chờ Xuyên Tường
-
Chất liệu Cao cấp : Ống chờ xuyên tường (sleeve) được sản xuất từ nhựa PVC, ống thép đúc, ống inox 304 hoặc chất lượng cao tổng hợp, chịu được áp lực lớn và không bị ảnh hưởng bởi chất hóa học hoặc điều kiện môi trường khắc nghiệt.
-
Thiết Kế Thông Minh.
-
Khả Năng Chống Cháy.
-
Đa Kích Thước: đa dạng
4. Ứng Dụng Đa Dạng Của Ống Chờ Xuyên Tường
Ống chờ xuyên tường
-
Xây dựng Nhà ở Ở : Sử dụng hệ thống cấp thoát nước, gắn dây điện hoặc hệ thống điều hòa không khí.
-
Công Nghiệp: ống chờ trong các sàn kết cấu, đầu chờ cho hệ thống bể ngầm nước thải....
-
Công Trình Hạ Tầng : ứng dụng cho cascoonsg luồn cáp, ống cáp quang...
5. Quy Trình Sản Xuất Ống Chờ Xuyên Tường
- Lựa chọn Vật liệu nguyên liệu: dựa trên đặc tính của công trinhf ta chọn vật liệu phù hợp như nhựa PVC, ống thép, hay inox sus.
- Gia Công Chính Xác minh : gia công tai bắt, cắt ống theo độ dài tiêu chuẩn.
- Kiểm tra định lượng
- Đóng Gói và Chuyển
Công ty cổ phần sản xuất và thương mại kỹ thuật IPF Việt Nam là đơn vị chuyên sản xuất sản phẩm vật tư công nghiệp, dây chuyền sản xuất
Địa chỉ: Số 520,đường Ngãi cầu, Xã an khánh, Thành phố Hà Nội, Việt Nam
- Điện thoại liên hệ : 0975.360.629
- Trang web : www.ipf-vn.com
- Email : Sales.ipfvietnam@gmail.com

